11年專業銷售工程師-徐工
15年專業銷售工程師-謝工
9年專業銷售工程師-王工
6年銷售工程師-張工
項目產品選型、技術指導高級電器工程師-李工
| 分類 | |
| 品牌 |
| 分類 | |
| 品牌 |
| 分類 | |
| 品牌 |
| 分類 |
|
| 品牌 |
|
優勢一:廣州南創是一家大型傳感器、儀器儀表、工業備品備件供應商!中國傳感器聯合會誠信“AAA”級成員,多家世界知名傳感企業中國市場開拓核心合作伙伴;
優勢二:完善的全國銷售服務網絡:12個區域辦事處、20個分公司、遍布全國的售后服務網點,為您及時便捷實現上門無憂售后服務;
優勢三:為國內多家知名大中型工業企業、航天工業企業提供國際工業自動化控制檢測設備及工業稱重系統和傳感器設備儀表,緊密依托中科院及清華大學的技術支持合作交流。技術、產品可靠值得信賴;
優勢四:鄭重承諾:三個月內產品有質量問題無條件退換貨;
優勢五:資深工程師為您提供全方位完善的一條龍銷售服務指導,售前專業方案設計、產品選型指導,售中安裝調試,售后三年上門免費跟蹤維修服務;
優勢六:全國優勢價格支持銷售,凡在我們公司購買產品,如果同類產品高于主流市場價格,我們雙倍補還差價,性價比高!
優勢七:我公司在國外設有7個境外專業采購中心,保證原裝進口,貨期快捷,價格具有優勢,可靠、放心
優勢八:我公司代理經銷169個品牌,全國同類產品系列全、品種多、多家知名企業中國合作伙伴代理。
關于ZSFY-A-25T稱重傳感器,詳細信息請點擊:柯力傳感器;可查找了解ZSFY-A-25T稱重傳感器具體技術參數及相關系列產品型號等信息。
ZSFY-A-25T稱重傳感器產品圖片:

ZSFY-A-25T稱重傳感器產品簡介:
產品介紹:ZSFY-A-25T稱重傳感器是柱式結構的稱重傳感器,可以應用在惡劣的環境和較大型的稱重系統中。
產品特性:ZSFY-A-25T稱重傳感器柱式力測量結構,可承受壓力。輸出對稱性好,結構緊湊,安裝方便,高精度、穩定性好。 適用于汽車衡、軌道衡、地上衡等各類稱重設備衡器中。
ZSFY-A-25T稱重傳感器產品特點和優勢:
--額定載荷:10t,15t,20t,25t,30t,40t,50t
--綜合誤差:±0.003%F.S
--不銹鋼材料,全密封焊接,防油、防水、防一般腐蝕性氣體及介質,防雷擊達一萬伏,可適用于多種環境。
--輸出信號規格化,一致性好,便于互換 與應用
ZSFY-A-25T稱重傳感器相關技術參數:

柯力傳感器作為最好的傳感器之一,一直以來備受大家的關注,下面是柯力傳感器的系列產品:
汽車衡系列
專業的汽車衡稱重方案,適合國內外各種規格的高精度汽車衡,種類齊全,可靠穩定,性價比高。
·天車秤系列
安裝于在起重設備上的一種電子秤,種類齊全,符合各項國家標準。
·軌道衡系列
適用于高精度動靜態軌道稱量,形式包括斷軌式、墊軌式、塞入式及鋼軌貼片式等。
·安全限制系列
用于各類超載安全保護的托利多傳感器,抗沖擊力好,種類齊全,安全可靠。
·車載秤系列
用于過程的控制和監控,配合RFID卡和無線網絡,是目前公司新型的物聯網產品。
·平臺秤系列
結構優良、安裝方便,精度高、互換性好。
·叉車秤系列
用于過程的控制和監控,配合RFID卡和無線網絡,是目前公司新型的物聯網產品。
·料罐秤系列
多樣化的料倉稱重方案,具有精度高、量程范圍廣、高度低等優點。
·料斗秤系列
多樣化的料倉稱重方案,具有精度高、量程范圍廣、高度低等優點。
·吊鉤秤系列
配套市場上的各種吊鉤秤,具有線性精度高,重復性好,長期穩定。
·內置測力秤
具有良好的抗偏載、抗過載能力,性能穩定,安裝方便,適合各種準確度等級要求的試驗機及測力系統。
·皮帶秤系列
配套皮帶秤設備,對散狀物料進行連續計量,計量精度高,使用壽命長。
·軸重秤系列
對車輛軸重進行測量,廣泛用于高速公路過往車輛進行超限檢測、計重收費產品等。
·倉儲秤系列 多樣化的料倉稱重方案,具有精度高、量程范圍廣、高度低等優點。
·輪軸識別器系列
用于高速公路車輪軸型識別,配合軸重秤計重收費。
·測力機系列 具有良好的抗偏載、抗過載能力,性能穩定,安裝方便,適合各種準確度等級要求的試驗機及測力系統。
·其它測力傳感器、鋁制傳感器 各種非標測力場合,可提供非標定制。
·平臺秤系列 UDA系列通過OIML R60 C3認證,適用較大臺面尺寸的電子臺秤以及各種工業稱重系統等
·案秤系列 AMI系列通過OIML R60 C3認證,適用于較小臺面尺寸的電子計價秤、計數秤、收銀秤等
·其他系列 AMF系列,適用于高精度天平使用,數字傳感器
智能型傳感器,自動補償功能,組秤方便,抗干擾能力強,便于故障診斷和分析,具有較強的防作弊能力。
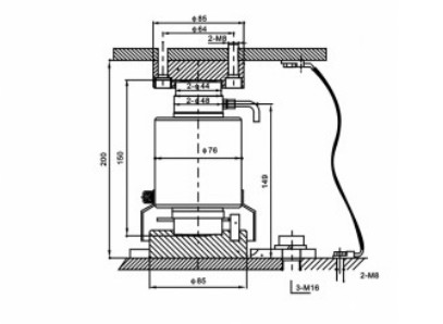
ZSFY-A-25T稱重傳感器產品結構安裝規格尺寸圖:

ZSFY-A-25T稱重傳感器的相關型號:
柯力SPB-50Kg稱重傳感器
柯力SPB-75Kg稱重傳感器
柯力CPL-10Klb稱重傳感器
柯力CPL-100Klb稱重傳感器
柯力CPL-200Klb傳感器
柯力SPB-100Kg傳感器
柯力SPB-150Kg傳感器
柯力SPB-200Kg傳感器
柯力SPB-635Kg稱重傳感器
柯力SSB-250Klb稱重傳感器
柯力SSB-500Klb稱重傳感器
柯力SSB-20Klb稱重傳感器
柯力CPL-50Klb稱重傳感器
柯力STB-30Kg傳感器
柯力STB-50Kg傳感器
柯力SPB-500Kg稱重傳感器
柯力DSL-50Klb稱重傳感器
柯力DSL-65Klb稱重傳感器
柯力DSL-100Klb稱重傳感器
柯力STB-100Kg傳感器
柯力STB-200Kg傳感器
柯力CPL-25Klb傳感器
柯力CPL-50Klb傳感器
柯力SPB-1000Kg稱重傳感器
柯力STB-250Kg稱重傳感器
柯力SSB-100Klb稱重傳感器
柯力SPB-300Kg稱重傳感器
除ZSFY-A-25T稱重傳感器之外的其它相關產品及型號:
CD-30t傳感器,美國傳力Transcell CD-20t傳感器★一級總銷售商
tedea 120-10t稱重傳感器_tedea 120-20t_120-30t傳感器★一級銷售商商
Utilcell MOD740稱重傳感器 MOD740-40T MOD740-200T
Laumas 剪切粱稱重傳感器 Laumas稱重傳感器
本站內容未經許可禁止復制轉載!©2002 廣州南創電子科技有限公司
聯系電話:020-82303306 公司傳真:020-82303511下班及雙休日請撥打各品牌負責人電話電話詳情
備案號: 粵ICP備11086172號-1